Поздравляю С днём автомобилиста!

:melting_face: :melting_face: :melting_face:

С радостью бы пересел на какой нибудь Pontiac LeMans 1967, Chrysler Fifth Avenue 1985, Chevrole Caprice 1992, Oldsmobile Delta 88 1979, Chrysler 300C 1957
И да предпочитаю :us_outlying_islands:

Я себя прям ребёнком чувствую как в магазине игрушек - я вот это хочу :point_up_2: и вот это :point_up_2: хочу

1 лайк

Америка ,старая, там хоть всё пробуй, до такой степени все красивое

Как вот это может не будоражить




И это даже не часть автопрома, так несколько единиц

2 лайка

Мне нравится собственно человек непосвещённый судит по тому что что-то кто-то там сказал) и судит по картиночкам и заглядывает в рот доводя до идолопоклонничества, несправедливо поливая тот же автопром советский

Например ГАЗ-24 типо какой нибудь Ford Fairline
Например типо какой нибудь ВАЗ-2108 и какой нибудь Pontiac Firebird/Trans AM

Однако поковырявшись или посмотрев теже каталоги запчастей, чертежи, технические решения…ну скажем так может человека непосвещённого окатить как холодный душ

Смотришь на некоторые тех.решения и хочется в сравнении с советским от фейспалма пробить лоб

1 лайк

Особенно вот этот парень :laughing:

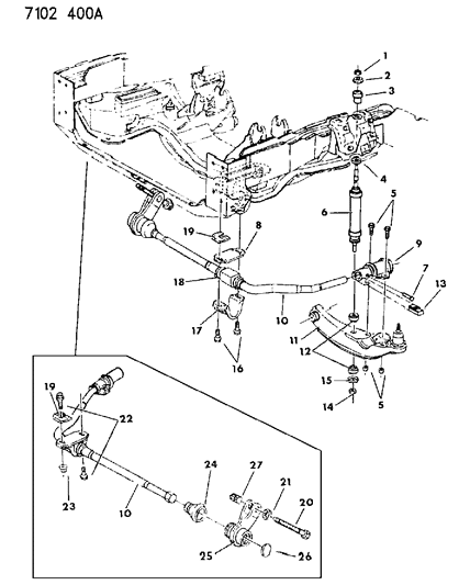
Торсионы передней подвески как на Запорожце) ток с той разницей что у того сзади, а тут спереди + Рессора от какого нибудь ГАЗона + двигатель + задние тормозные барабаныны архитектуре Волги 24 наверно :sweat_smile: + масса 2 тонны + умопомрачительный руль что бы уж наверняка в случае ДТП проломил грудину

Мне реально интерестно - есть ли в нём хотя бы 1 стабилизатор подвески :face_with_raised_eyebrow:

Прекрасный коктейль

Меня обёртка интересует, все остальное лирика, нам на этом не ездить, 24 Волга мне нравится так же и 02 по трассе особенно

По гражданской специальности: инженер по специальности автомобиль и автомобильное хозяйство.
По военной: зампотех инженерно-саперной роты.
Так что ПАРМ - наше все.

1 лайк

Двухтактный турбированный Детройт Дизель 92 серии его таскает - легендарный мотор.

Нет, и там, и там спереди. У ЗАЗ - поперечное расположение, решение, аналогичное VW Kaefer и typ 82. У американцев - продольные торсионы, одновременно являющиеся осями нижних рычагов.

изображение

2 лайка

Приятно пообщаться со знающими людьми, значит про Dodge Charger - несколько спутал раслоложение с их платформой M-Body
image
image

Тут собсно весь смысл в том что назвать такую подвеску прогрессивной язык не поворачивается
И такое выпускалось до 90-х годов

А как тебе такая передняя ось на фордовских внедорожниках - Twin Traction beam?

изображение