Japanese Field and Amphibious Equipment Kyushu Defense Systems.
Вообще интересный документ с информацией о гранатомётах, ракетных установках и многом другом.


Japanese Field and Amphibious Equipment Kyushu Defense Systems.
Вообще интересный документ с информацией о гранатомётах, ракетных установках и многом другом.


А вот это интересно ![]()
В отрядик как птр Шолохова или wz)
Блин вроде все эти документы есть, а как-то пропустил
Жаль что фотографии в ужасном качестве чтобы посмотреть на эти орудия, правда скорее всего это чисто экспериментальные установки
Сравнение прицельных приспособлений укороченной винтовки арисака Тип 99 (согласно посту)
Ранний выпуск / Середина войны / Поздний выпуск
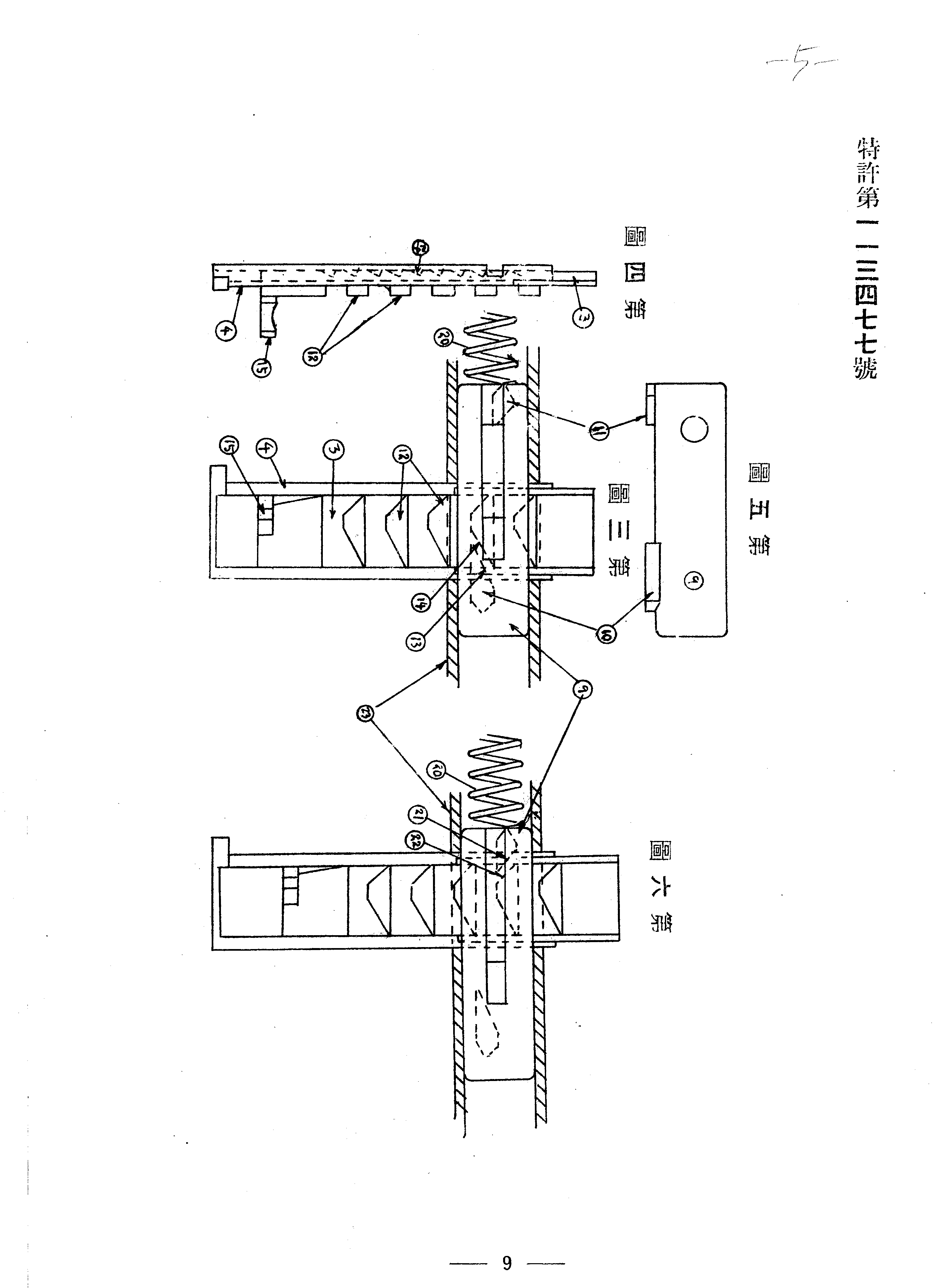
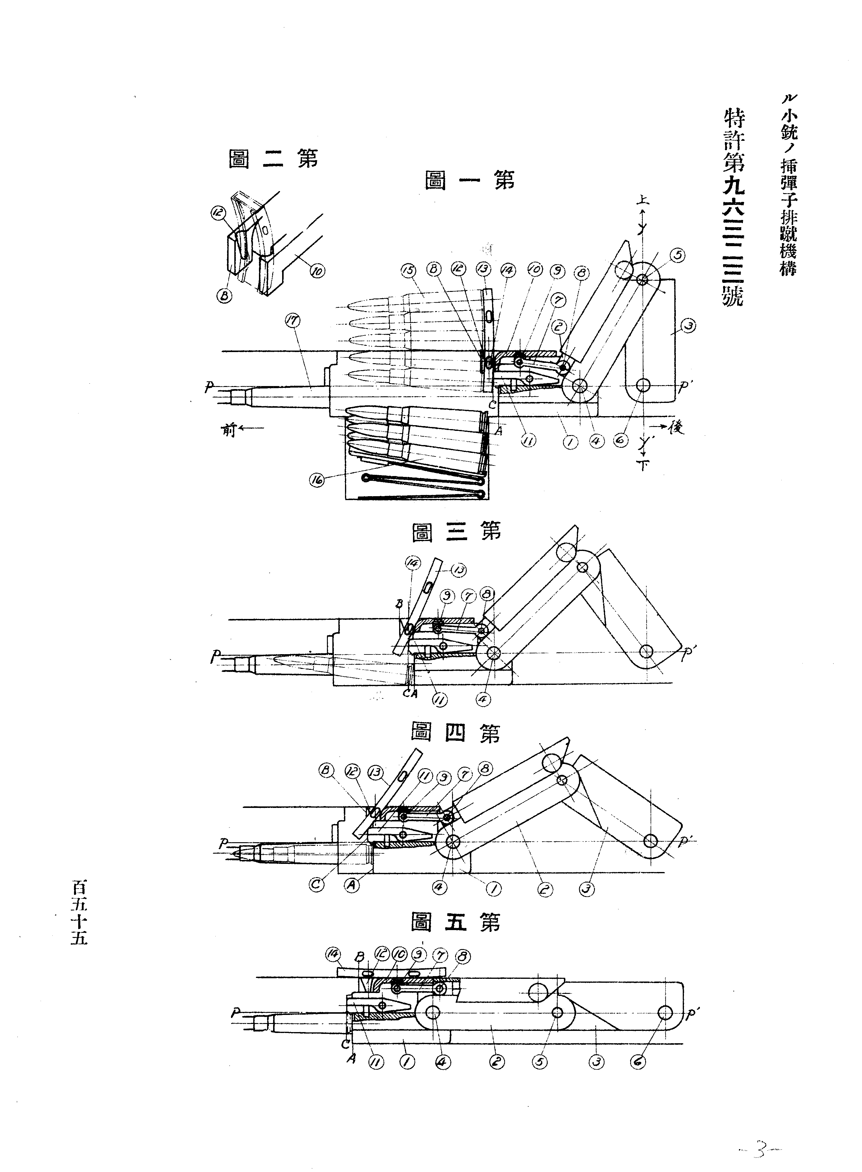
Винтовка имела изначально 5-зарядный магазин. 27 января 1932 года была подана патентная заявка описывающая механизм выбрасывания обоймы для этой винтовки:
Особенностью данного изобретения является механизм затвора, состоящий из соединенных шарнирами передней части (1), центральной части (2) и задней части (3). На верхней поверхности передней части (1) установлен держатель обоймы (10), способный совершать скользящие движения вперед и назад. При открытии патронника (17) для снаряжения магазина передний край (A) держателя (10) выступает вперед, подготавливаясь к удержанию обоймы (13). Когда патроны досланы и затвор закрывается для запирания патронника (17), передняя часть затвора (1) движется вперед, а детали (2) и (3) распрямляются. В этот момент через соединительную пластину (7) держатель (10) резко оттягивается назад, в результате чего обойма (13), удерживаемая между передним краем (A) держателя и передним краем (C) выбрасывателя, автоматически выбрасывается наружу без необходимости совершать дополнительные манипуляции.
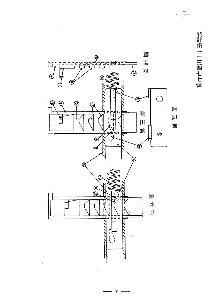
На имя Тэцутаро Хата в середине 1930-х годов поступило два патента с довольно детальным описанием автоматической винтовки, от чего есть некоторая вероятность, что она даже была в “металле”.
По сути Тэцутаро Хата предложил винтовку с автоматикой G41 и механизмом подачи от пулемёта Тип 11.
Изобретение описывает конструкцию компактного огнемета, который может быть закреплен на винтовке. Основные технические особенности включают:
Ну вот
Три фракции с огнеметами на пушках есть
Остались амеры ![]()
Берем тип 38,увеличиваем в 15 раз и готово😅
В 1924 году была произведена опытная модель Тип 3 с бункерным магазином похожий на магазин от пулемёта Тип 11, разработкой такой модификации занимался Токийский арсенал. Были проведены всесторонние испытания пехотной и кавалерийской школой - с ноября по декабрь того же года и с января по февраль следующего года соответственно. В ходе испытаний было отмечено преимущество в возможности заряжание через те же патронные пачки, которые используются в ручных пулемётах Тип 11 и винтовках. Кроме того, стрелок был способен сам заряжать пулемёт, тем самым отпадала необходимость в отдельном заряжающим. С другой стороны для заряжания патронной пачки требовалось время и отдельный солдат, хотя можно было бы подготовить большое количество ящиков с патронными обоймами, в таком случае это противоречило бы изначальному назначению модификации - быстрой смене позиции подготовки к стрельбе. Принимая во внимание всё вышеизложенное, и то что станковые пулемёты всё чаще начали использоваться в тылу, было установлено, что модифицированный пулемёт с бункерным магазином непрактичен и будет иметь различные недостатки, в следствии чего исследования были прекращены.
Самое интересное — это ёмкость, насчитал где-то 10 обойм, внутри в бункере скорее всего ещё 2 обоймы (на Reddit сказано что ёмкость 60 патронов). И я лишь могу предположить, что бункер был взаимозаменяемый с бункерами Тип 11 и Тип 91.
А зачем…?
Ну японцы
Ну чудики
похоже на тип 100, просто очень хренового качества
Документ C04120217400 на JACAR:
Предмет: Запрос на выдачу оружия и боеприпасов для диверсионных целей
30 декабря 12-го года Сёва (1937 г.) От: Начальника штаба Тайваньской армии — Масанао Хата Кому: Заместителю министра армии — Ёсидзиро Умэдзу
В связи с необходимостью проведения нашей армией специальных (диверсионных) операций против Южного Китая, прошу в срочном порядке выдать указанное ниже трофейное (鹵獲 — рокуаку) оружие и боеприпасы.
Всего.
О секретный документ
Документ C04014972120 на JACAR:
| Наименование предмета | Кол-во |
|---|---|
| Действующее вооружение (Япония) | |
| Огнемет типа 93 | 1 |
| 81-мм пехотный миномет типа 97 | 1 |
| 20-мм противотанковое ружье типа 97 | 1 |
| 70-мм батальонная пушка типа 92 | 1 |
| Тяжелый пулемет типа 92 | 1 |
| Ручной пулемет типа 96 | 1 |
| Легкий танк (с вооружением) | 1 |
| Трофейное вооружение (Захваченное) | |
| 37-мм пехотное орудие (США, обр. 1916 г.) | 1 |
| 12-[нрзб] пушка Круппа | 1 |
| Зенитное орудие (обр. 1939 г.) | 1 |
| 76-мм [нрзб] пушка (СССР, обр. 1930 г.) | 1 |
| 45-мм противотанковая пушка (СССР) | 1 |
| Горное орудие Круппа | 1 |
| [Наименование неразборчиво] | 1 |
| Тяжелый пулемет Гочкиса | 1 |
| Ручной пулемет Нойгаузен (SIG Ke7) | 1 |
| 20-мм автоматическая пушка Мадсена | 1 |
| Различные винтовки | 5 |
| Различные штыки | 5 |
| Бронеавтомобиль «Карден-Лойд» | 1 |
Удивил немного 20-мм Мадсен. К слову, за более чем 900 документов где встречается слово “ручной пулемёт” на JACAR, это единственное упоминание пулемёта SIG Ke7. Я попробовал найти его в других документах по тому же названию (イノウハウゼン輕機關銃), но не получилось. При этом пулемёты системы Браунинга встречаются частенько. Пулемёты ZB-26 вообще в огромных количество. Иногда можно и Мадсена калибра 7,9 мм встретить. Но вот SIG Ke7 как то вообще не встречается.
может просто неразборчивые японцы называли его браунингом (бар), так то с словесного описания у них много общего, иногда даже изогнутые магазины встречаются (возможно тот что я видел это был прототип но хз-хз)
Да, наверное ещё Тип 96 с Мадсеном путали, тоже по словесному описанию очень похожи
.
Выпускались наставлениях как по пулемётам системы Браунинга так и по SiG Ke 7, многие трофейные пулемёты проходили ремонт в местных мастерских и имеют японскую маркировку на ствольной коробке. Большое количество документов, где представлено сданное китайцам японского вооружения в конце войны, имеет информацию до арсенала производителя. На оружие, на ствольной коробке, буквально написано каким патентом защищено и кто производитель. Что довольно забавно, поскольку Neuhausen имеет в японских документах разную транскрипцию: ノイホーゼン軽機関銃 / イノウハウゼン輕機關銃 / ノイハウゼン軽機関銃. Как в исследовательских отчётах обычно обозначают оружие как SiG Ke7, то есть можно предположить что дивизии даже если не знали точное название оружия пытались перевести название.
И на 961 документе ( C15010546000 на JACAR) нашёл ещё одно упоминание, отдельная автомобильная рота №312 в 1945 году при разоружение передала китайской стороне 3 пулемёта SiG Ke7.
@Аврора2003 @Аврора2003 @Аврора2003 @Аврора2003 @Аврора2003 @Аврора2003
Документ А03032170000 на JACAR описывает ручные пулемёты мира.
Так вот, по этому документу у Японии есть два длинных пулемёта Дрейзе (№ 276, 337) и один короткий пулемёт Дрейзе (№ 1048).
| Данные | Дрейзе, длинный | Дрейзе, короткий |
|---|---|---|
| Страна | Германия | Германия |
| Номер | № 276, 337 | № 1048 |
| Калибр (мм) | 7.92 | — |
| Нарезы (кол-во/напр.) | 4, правое | — |
| Общая длина (мм) | 1,320 | 1,200 |
| Длина ствола (мм) | 720 | 600 |
| Общий вес (кг) | 11.675 | 11.000 |
| Тип автоматики | Использование отдачи ствола | — |
| Тип охлаждения | Воздушное (с кожухом) | — |
| Тип питания | Коробчатый магазин (20 патр.) | — |
| Прицельная дальность | 100 ~ 2,000 | — |
Баллистические данные и боеприпасы:
Примечания:
Что то непонятное, но очень интересное.
@Аврора2003 @Аврора2003 @Аврора2003 @Аврора2003 @Аврора2003 @Аврора2003
Документ C03011722900 на JACAR:
Регистрационный номер: Тай-То-Хо № 176 (泰東砲第一七六號) Заголовок: Прошение об изготовлении (製作御願)
Заключение: «Просим изготовить вышеуказанные предметы в кратчайшие сроки. Настоящим покорнейше представляем данное прошение».
То есть это почти точно пулемёт Тип 11 под Сиамский патрон.