Общая тема по вооружению Японии [DELAVR] 🇯🇵

Внутри танка Ka-Mi

Из-за своей “квадратности”, пропорциональности по длине и ширине и малого калибра пушки танк ощущается небольшим (особенно на фоне Ka-Chi), но на деле это огромная, просторная ванна.

Также по ряду японских документов известно, что экипаж должен составлять 6 человек, которые в принципе легко туда лезут, дополнительные 2 члена экипажа выполняли вспомогательные роли инженеров-механиков для обеспечения работы всех механизмов, особенно на воде.

3 лайка

Американские морпехи передвигаются на грузовиках. Привлекает внимание тот факт, что на переднем плане виден японский трофейный Исузу Тип 94

4 лайка

6-ти зарядная 12см ракетная установка (12см Ro-Tsu Dan)



image

Являлась одной из разработок флота для использования 12см неуправляемых ракет. К сожалению я не нашел из какой это книги, потому не понятно была ли эта установка серийная. Видно, что данная установка похожа на немецкий небельфервер и японцы давно знали о таком типе вооружения, потому вполне вероятно оно было вдохновлено немецкой разработкой (но это не точно)

Характеристики:

  • Масса снаряда: 28кг
  • Масса ВВ: 2.8кг
  • Тип ВВ: Тип 91
  • Дальность: 4000м
5 лайков

хачу, вместе с другими рсзо Стационарные РСЗО для инженеров

3 лайка

Да, неплохо. Я бы даже на самом деле убрал бы ту многозарядную систему первую ибо это чисто зенитное устройство для кораблей, а ракеты там только зажигательные и заменил вот на этот японский небельверфер

1 лайк

Мечты)

Цвершиц поделился с ссылкой на документ про тесты на новый ручной пулемёт апреля 1934 года.
https://www.digital.archives.go.jp/img.pdf/1725036

2 лайка

Характеристики Модель Ко и Модель Отсу из документа выше.

4 лайка

Модель Отсу был сделан… Токийским арсеналом!?

6 лайков

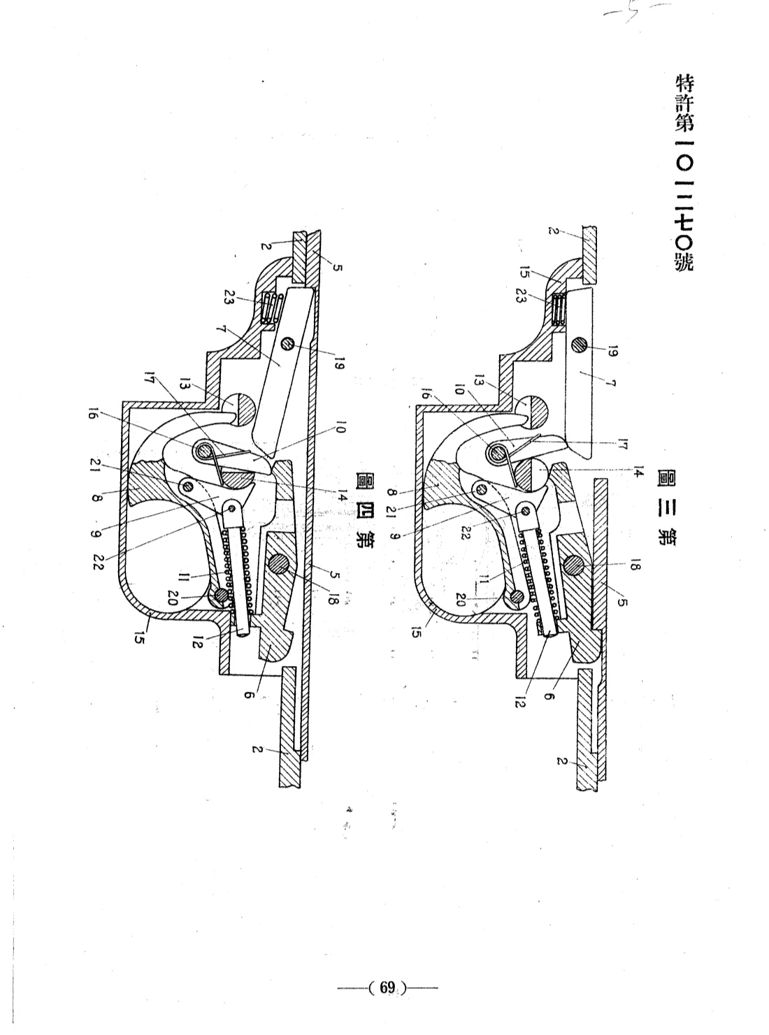
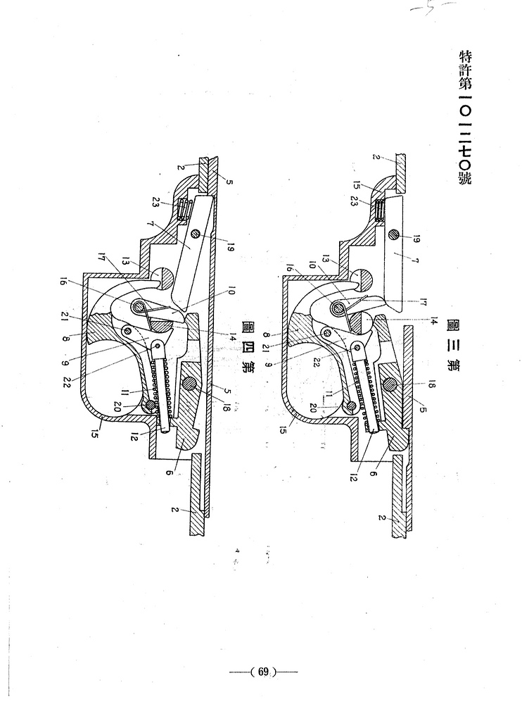
Так, у меня дошли руки до этих патентов.

Хотя Цвершиц почему-то считает что они к разработке Тип 96 не относятся, не смотря на то что патенты были поданы в тот же год что и привлечение Nippon Special Steel Company к конкурсу и общую компоновку пулемёту соответствую ТЗ (кроме пожалуй пистолтеной рукоятки, которую возможно просто не показали)…

В любом случае УСМ я не вижу смысл рассматривать подробно, если в крации, то есть два шептала позволяющие стрелять с открытого затвора при полностью автоматическом огне и с закрытого затвора при одиночном огне, как у FG 42 или пулемёта Джонсона, только на десятилетие раньше. К слову, я не вспомню чтобы что-то подобное было до 1932 года, японцы первые придумали такую конструкцию?



Далее затвор, а точнее запирание. Если есть настоящие любители японской оружейной школы, то представляю вашему вниманию перенос текста с патента:
遊底(3)ハ第一圖及第二圖ニ示ス如ク中央部カ下ヨリ例ラレタル稍細長キ六面體ニテ全體ハ尾筒(2)ニ案内セラレテ前後ニ滑リ得而シテ中央部 ニ二ッノ門子(4)ヲ抱き更ニソノ中央ニ撃莖(5)ヲ挾ム而シテ該撃莖ノ下部ハ第一圖示ス如ク銃身ノ下ョリ前ニ伸ヒテ活塞(11)ニ連ル尾筒、遊底、撃莖及門子ノ關係ハ第二、第三圖ニ明カナルカ如ク發火ノ際ハ撃莖ハ門子ヲ第二圖ノ如ク尾筒ノ凹ミニ押込ノ遊底壓ニ抵抗シラ遊底ヲ尾筒ニ鉤止シ活塞(11)ノ前方ョリ瓦斯壓働ヶハ撃莖ハ第三圖ノ如ク後退シテ門子ノ頭部ヲ穿メテ遊底ヲ自由ニシ活塞撃莖、遊底三者一體トナリテ後退ス此ノ際撃莖ノ下部ニアル復座撥條(9)ハ壓縮セラル遊底後退位置ニアル限リ門子ハ遊底ニ對シテ第三圖ノ如クナリテ撃莖ハ遊底ニ對シテ前進スルヲ得サルヲ以テ遊底前進ノ途中ニラ新實包ヲ發火セシムルオソレナシ尙遊底ノ上部ニ第一圖ノ如ク槓桿(6)ヲ設ヶ撥條(7)ニョリテ軸(10)ノ周ヲ時計方向ニ廻轉スル能ヲ與へ遊底後退スレハ該槓桿ノ後端ハ少シク下リテ撃莖上部ノ段ニ引掛リ撃莖ヲ遊底ニ對シテ後退位置ニ保持ス遊底閉鎖位置ニ於テニ槓桿(6)ハ尾筒ノ一角(8)ニョリテ水平位置ニ復シ撃莖ハ前進シ得狀態トナル

И перевод:
​Затвор (3), как показано на Фиг. 1 и Фиг. 2, представляет собой слегка удлинённый шестигранник, центральная часть которого сточена снизу. Вся его конструкция направляется ствольной коробкой (2) и может скользить вперёд и назад. В центральной части он содержит два боевых упора (4), а также зажимает ударник (5) по центру. Нижняя часть этого ударника, как показано на Фиг. 1, выступает вперёд из-под ствола и соединяется с поршнем (11).
​Взаимосвязь между ствольной коробкой, затвором, ударником и боевыми упорами ясна из Фиг. 2 и Фиг. 3. Во время выстрела ударник вталкивает боевые упоры в углубления ствольной коробки, как показано на Фиг. 2, сопротивляясь давлению на затвор, тем самым зацепляя затвор со ствольной коробкой. Когда давление газа действует спереди на поршень (11), ударник отступает, как показано на Фиг. 3, позволяя головной части боевых упоров освободиться, и затвор вместе с поршнем и ударником отступает как единое целое. В это время возвратная пружина (9), расположенная в нижней части ударника, сжимается.
​Пока затвор находится в заднем положении, боевые упоры располагаются относительно затвора так, как показано на Фиг. 3, и ударник не может продвинуться вперёд относительно затвора. Таким образом, отсутствует опасность воспламенения нового патрона на полпути движения затвора вперёд.
​Кроме того, как показано на Фиг. 1, в верхней части затвора установлен рычаг (6), которому пружина (7) даёт возможность вращаться по часовой стрелке вокруг оси (10). При отступлении затвора задний конец этого рычага немного опускается и цепляется за уступ в верхней части ударника, удерживая ударник в заднем положении относительно затвора.
​В положении запирания затвора рычаг (6) возвращается в горизонтальное положение благодаря выступу (8) на ствольной коробке, и ударник получает возможность продвигаться вперёд.

И фрагмент из книги Military Rifles of Japan Ф. Пат Энтони и Фред Л. Ханикатт говориться следующие:
«Dr. Masaya Kawamura developed a light machine gun for Nippon Special Steel in competition with Nambu and Tokyo Gas & Electric, His design was dropped from the competition in 1935, primarily due to the high cyclic rate of 1200 rounds per minute. Kawamura went on to design and develop a 20mm, caliber aircraft machine gun for the air force in 1940 and a 30mm. caliber aircraft machine gun for the navy in 1942. The 20mm. caliber machine gun incorporated the same locking mechanism used in his light machine gun and was used extensively in the Zero, Raiden, and Shiden fighters. The 30mm. caliber machine gun was adopted by the navy as the Type 5 and was produced in limited quantity by Japan Special Steel and Toyokawa Arsenal late in World War II.»

@skultew1234 , есть некоторое представление как работают авиационные пушки Кавамуры? Тоже по похожему принципу?

6 лайков

2 лайка

Если что у ДП 27 очень похожий принцип, там ничего сложного нет.

3 лайка

Есть тут одна проблема - я тот еще дилетант в вопросе того как вообще стреляет оружие, потому никогда не изучал этот вопрос.

20мм пушки флота представляли собой лицензию на пушку Эрликон и ее доделки, я так понимаю тут имеется в виду переделка Эрликона под ленточное питание, что было сделано на Тип 99 модель 2 мод 4. А вот Тип 5… это вообще переделка Браунинга, но с своим методом “плавающей стрельбы”.

У меня есть вот такие хорошие схемы Тип 5, но не знаю понятно ли из них что-то
image
image

И из книги Аранова
image

Нашел еще такую анимацию, но не знаю есть ли тут магазин или лента для Тип 99 модель 2
https://x.com/Vought_F4U_/status/1686505828520538112?s=20

Я если найду чего, то обязательно скину, но не знаю найду ли

3 лайка

Спасибо! Сходство с Тип 5 уже на лицо!

2 лайка

Не та тема, не?
Он же не японский

Я уверен что нет, просто британские

P.s. забавная опечатка вышла)

Тише-тише :smiling_face:.

Отчёт об испытаниях оружия 1938 года в Северной Маньчжурии.

https://www.digital.archives.go.jp/img.pdf/1724752

Есть фрагмент про “тяжёлый гранатомёт”. К сожалению фото ужасного качества.


Так же есть упоминание “крылатых гранат”.

2 лайка

В документе C12121563400 на JACAR подробно описаны сравнения прототипов бронетранспортёров Тип 1 «Хо-Ха» и Тип 1 «Хо-Ки», так вот что примечательно, прототип Тип 1 «Хо-Ки» изначально имел наклонную броню.

Единственное фото которое получилось обнаружить.

6 лайков

ООо а вот это уже вкусное
image

Можно рассчитать скорости на передачах обоих машин, особенно задний ход

Если взять за истину макс. скорость в 50км/ч, то скорости на передачах у Хо-Ха выходят:
R: -8км/ч
1: 9,9км/ч
2: 17км/ч
3: 29,5км/ч
4: 50км/ч

Для Хо-Ки тоже самое сделать можно

2 лайка